Dripex 110 x 45cm Frameless Bathroom Mirror, Rectangle Wall Mounted Mirror with Polished Edge & Pre-Drilled Holes – Best for Bathroom, Dressing Room, Bedroom & Living Room
£48.99








Price: [price_with_discount]
(as of [price_update_date] – Details
[ad_1]
Product Description

Dripex Bathroom Mirror
Perfect mirror for your home

Beveled – Edge Mirror
This simple and practical beveled-edge mirror is perfect for your bathroom, powder room, entryway, bedroom and living room

Safety Mirror
3 mm reinforced glass with explosion-proof film, no spraying glass even the mirror got broken suddenly, safer for you and your family

How To Install This Mirror?
Put the mirror on the wall first and make 4 alignment marks on the wallMarking diameter point in the holes can ensure the accuracy and prevent misalignment

Electrical Drill Required
Use an electrical drill to drill 4 holes on the positions marked

Easy Installation
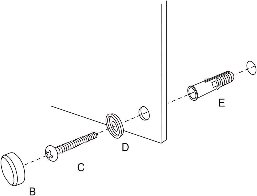
Insert the rawl plugs into the holes on wall, align the holes in the mirror with holes on the wall, put the black spacers on the mirror and then tight them with screws

Mirror On The Wall
Finally use the chrome caps to cover the black spacers, installation has been done!




🌈Mirror Size: 110 x 45 cm, approximately 43.3 x 17.5″
💫Explosion-Proof: 3 mm reinforced glass with explosion-proof film, safer for you and your family
📦Amazing Packaging: Robust wooden-frame packaging can highly reduce the chance of receiving a broken mirror
🐈Mirror can be fitted Vertically or Horizontally
❤️Perfect for the bathroom, living room, bedroom or dressing room
Customers say
Customers like the ease of installation, service, size and value of the home mirror. For example, they mention it’s easy to follow instructions, comes with very well packaged and is the perfect size. Some appreciate the appearance. That said, opinions are mixed on quality.
AI-generated from the text of customer reviews
User Reviews
Be the first to review “Dripex 110 x 45cm Frameless Bathroom Mirror, Rectangle Wall Mounted Mirror with Polished Edge & Pre-Drilled Holes – Best for Bathroom, Dressing Room, Bedroom & Living Room”
£48.99
There are no reviews yet.